요즘처럼 찬바람이 나면 뇌졸중, 뇌질환 병증에 대하여 많이 조심스러운데요 그 이유는 갑자기 추운 날씨로 인해서 혈관이 수축한 경우 혹은 출혈이 발생해서 나타날수 있는 경우 증상으로 특히 뇌졸중 증상에 대하여 오늘은 알아보도록 합니다



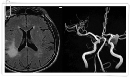
뇌졸중이란 우리 뇌에 있는 경우 혈관의 일부가 막혀서 막힌 부위의 뇌세포와 신경이 죽는 질환이라고 말할 수 있어요. 뇌는 혈액과 산소를 계속해서 공급받아야만 하며 뇌로 가는 혈액 공급이 차단되면 매우심각한 상황에 빠질 수 있으며 처치가 늦어지면 목숨을 잃을 수도 있어요. 뇌경색 초기증상을 알고 있어서 증상이 나타날 경우에는 빠른 시간 병원을 방문하셔서 처치를 받으시는 게 좋을 것 같아요.
뇌경색 원인
뇌졸중은 뇌혈관이 물리적 장애로 인해 막힐 때 발생해요. 이것은 일반적으로 나이로 인해 동맥이 경화되거나 심장이 심장 질환으로 고통받을 때 발생한다고 해요. 뇌졸중의 증상은 당뇨병, 콜레스테롤 상승 또는 고혈압에 의해 악화될 수 있으며 환자는 나이가 들고 추운 날씨에 노출되었을 때 광범위한 혈관 질환의 일종으로 이런 증상을 경험해요. 뇌의 특정 부분에 영향을 미칠 때 뇌졸중은 한쪽 사지와 신체의 한쪽 면에 마비를 유발할 수 있어요.



뇌경색 초기증상 한쪽마비증상
편마비, 즉 한쪽 마비란왼쪽이나 오른쪽의 상지 또는 하지 얼굴까지도 포함해서 근력저하가 일어나는 것이며 마비는 한쪽에만 생겨나는 것이 일반적이며 양 쪽 전부 이러한 증상이 나타날 경우에는 편마비라고 하지 않아요. 이러한 편마비가 오는 것은 뇌경색 전조증상이기도 하지만 해당된 질환이 다양해요. 척수종양의 경우에도 편마비가 나타날 수 있으며 디스크의 경우에도 이러한 증상이 나타날 수 있답니다.






뇌경색 초기 증상어지럼증
뇌경색 초기 증상으로 어지럼증 증상입니다. 뇌경색은 뇌에 혈액순환이 잘 되지 않는 것이라서 어지럼증을 느끼게 돼요. 각 세포에 혈액 속 산소가 원활하게 공급이 되어야 우리 몸이 건강하게 유지가 돼요. 특히나 뇌에 산소공급이 중단이 되게 되면 어지럼증이 매우 빠르게 나타나는 경우가 흔해요. 어지럼증은 낙상 등의 과정에서 2차적인 사고가 일어날 가능성이 높므로 일상생활속 어지럼증을 자주 느낀다면 병원으로 바로 방문하시는 것이 좋아요.
뇌경색 초기 증상극심한 피로함
뇌경색 초기 증상으로는 쉬어도 자꾸 피곤함을 느낀다고 해요. 일반적인 피로감과 다르게 머리가 무겁고 일상생활이 힘들 정도로 피곤함이 느껴지며 머리와 목덜미 부근이 뻐근해져요. 졸려서 자는 것이 아닌 머리가 무거워서 자고 싶다는 생각이 들 정도라고 해요.



뇌경색이 발생하게 되면콜레스테롤과 노폐물이 혈관을 막고, 뇌에 공급되어야 할 피와 영양분이 제대로 공급되지 않기 때문에 항상 피곤하고 피로한 증상이 생길 수 있으며 평상시 고혈압 환자가 이와 같은 증상을 보인다면 빠르게 병원을 방문해 보는 것이 좋아요.
뇌경색 초기 증상안면 마비
뇌경색의 초기 증상으로 대표적이라고 할 수 있는 안면 마비인데요. 뇌는 인간의 행동을 통제하고 지시해요. 뇌경색의 초기 증상이 나타나면 의사소통 능력과 정신 능력이 저하돼요. 그리고 이런 초기 증상 중 한 가지로로 안면 근육의 갑작스러운 마비가 나타날 수 있으며 전대뇌동맥은 누군가가 안면마비로 고통받을 때 대부분의 뇌경색을 유발해요. 얼굴의 안면을 찡그리지 않아도 본인도 모르는 사이 얼굴이 일그러지거나 완전히 마비될 수 있어요.






위와 같이 안면마비가 올 경우에는
먼저 거울을 보고 얼굴 표정을 지어보는 것인데요. 거울을 보며 미소를 지어 보이시 거나입 모양을 '이' 모양으로 만들었을 때 얼굴 근육 한쪽에 마비가 온다거나 표정이 잘 지어지지 않는다면 뇌경색 초기 증상일 수도 있다는 의심을 해보시며 체크해보는 방법도 좋을 것 같습니다.
뇌경색 초기증상 글씨와 물체가 겹쳐 보이는 복시 증상
단순 시력 저하가 아닌 글씨나 물체가 겹쳐 보이고 뚜렷하게 보이지 않는 증상이 나타납니다. 이는 후두엽 혈관이 막히게 되면 뇌경색 초기 증상으로 시야가 결손되거나 복시 현상이 발생하게 돼요. 일반적인 시력 저하는 시력이 서서히 나빠지는 양상을 보이지만 뇌경색의 경우, 급격하게 시력이 저하되거나 한쪽 눈이 아예 보이지 않을 수도 있습니다. 바로 막힌 혈관에 피가 쏠려 혈관이 부풀어 올라 다른 혈관이나 신경들을 누르면서 한쪽 눈이 실명되는 시력 장애가 발생하는 경우인데요.






뇌경색 초기증상 언어 장애
평상시와 달리 갑자기 말투가 어눌해지고 상대방이 말하는 쉬운 언어조차 이해하지 못하는 이상 증세가 나타납니다.



이는 뇌경색 초기증상으로 인해 말하고 듣는 것에 이상이 생겨 상대의 말을 이해하지 못한 경우 혹은 자기 생각하는 것과 다른 말이 나오기도 하며, 혀가 마음대로 움직이지 않아 말을 더듬기도 해서 의사소통에 불편함을 느끼는 언어장애가 옵니다.
뇌경색 초기증상 운동능력 상실 및 무감각 증상
감각이 무뎌지고 운동능력이 현저히 저하되는 증상이 나타납니다. 또한 뇌경색이 발생한 부위의 반대편으로 다리 감각이 상실되고 운동능력이 떨어질 수 있어요. 감각이 상실되면서 걸음이 휘청거리게 돼요.
간단하게 체크해 보실 수 있는 방법 중 양팔을 들어보는 것인데요. 팔을 들었을 때 팔이 무게를 이기지 못하고 그대로 떨어진다면 이 역시 뇌경색 초기 증상을 의심해 볼 수 있어요






뇌경색 초기증상 사지마비
사지마비는 양쪽 팔과 다리를 움직이기 힘들거나 전혀 움직일 수 없는 상태를 말해요. 뇌경색초기증상으로 편마비가 올 수 있는 부분도 있지만 사지마비 또한 동반해요. 사지마비는 척수신경 손상으로부터 비롯되며 목부터 허리까지 이어져 있는 경우 척추뼈에는 척수라는 신경이 있어요. 이 척수신경이 손상을 받을 경우에는 사지마비가 오게 돼요. 이렇게 사지마비가 오는 경우도 뇌경색 전조증상으로 볼 수 있어요.
뇌경색이 의심이 되더라도 평상시에는 아무런 장애가 없는 무증상 뇌경색이 전체 뇌졸중의 11% 정도라고 해요
혈관이 막혀 주위 뇌세포는 죽었지만 막힌 부위가 신체에 영향을 별로 끼치지 않는 곳이라면 건강한 일반인과 별 차이 없이 생활할 수 있는 경우 데요데요






뇌경색이 생긴 것을 모르고 있다가 건강검진이나 다른 질환을 검사하다가 우연히 뇌경색을 발견하는 경우가 있습니다. 무증상 뇌경색이 발병하기 쉬운 고혈압, 비만, 당뇨, 가족력 등의 위험 인자가 있으면 정기적인 검사를 받으셔서 건강관리를 미리 해주시는 것도 좋은 방법인것 같습니다.
댓글